Коллектор NVC предназначен для объединения нескольких модулей пожаротушения при подключении их к трубопроводу посредством фланцевого соединения. Коллектор применяется как в модульных, так и в централизованных установках газового пожаротушения. При необходимости подключения модулей через обратный клапан, следует применять коллекторы с маркировкой ОК.
Коллектор с маркировкой ОК имеет тип резьбы муфты – NPT 2 1/2 ̋, коллектор без соответствующей маркировки – К2 ̋. Рабочее давление коллектора – 6,4 МПа.
Обозначение при заказе:
Коллектор NVC К1-X1–X2–Х3.П/Л, где:
- NVC К1 – наименование коллектора, принятое изготовителем (однорядный);
- Х1 – диаметр номинальный коллектора, DN (от 50 до 150);
- Х2 – количество подключаемых модулей, N, шт (от 2 до 10);
- Х3 – подключение модулей через обратный клапан (ОК);
П – направление потока ГОТВ (расположение выходного фланца) – правое;
Л – направление потока ГОТВ (расположение выходного фланца) – левое.

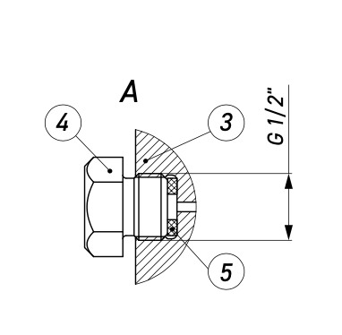
Параметры коллектора определяются по результатам гидравлического расчета. Коллектор состоит из трубопровода заданного диаметра, фланцевых соединений и муфт для подключения модулей объемом от 52 до 180 литров. В торцевой части установлена заглушка с внутренней резьбой G1/2” для возможности установки сигнализатора давления универсального1 и подключения испытательного оборудования. Направление потока газового огнетушащего вещества относительно модулей пожаротушения (располо- жение выходного фланца) обозначается маркировкой Л (левый) и П (правый) соответственно.
1 Клапан обратный, сигнализатор давления не входят в комплект поставки коллектора и поставляются отдельно.
В комплект поставки коллектора NVC входит:
• коллектор с муфтами для присоединения РВД или клапана обратного и фланцевым соединением;
• шпильки, гайки и прокладка для фланца;
• заглушка НР испытательная G 1/2”;
• заглушка НР испытательная К2” (или NPT 2 1/2”) по количеству подключаемых модулей (N).



- Муфта К2” или 2 1/2” NPT;
- Заглушка НР испытательная К2” или 2 1/2” NPT;
- Торцевая заглушка коллектора;
- Заглушка НР испытательная G 1/2”;
- Прокладка фторопластовая.
- Крепление коллектора к стойке рекомендуется осуществлять при помощи U-образного хомута, который не входит в комплект поставки и заказывается отдельно.
- Возможна разработка и изготовление коллектора с индивидуальными параметрами из углеродистой или нержавеющей сталей.
|
Артикул |
Артикул |
Тип коллектора |
Рис. |
L, мм |
H max, мм |
Масса с муфтой под РВД, кг |
Масса с муфтой под ОК, кг |
|
Коллектор NVC К1-50-N(-ОК).П/Л |
|||||||
|
410076/410197 |
410228/410238 |
К1-50-2 |
6.4.1-6.4.2 |
1394 |
188 |
22,2 |
24,2 |
|
410362/410317 |
410186/410187 |
К1-50-3 |
1894 |
26,8 |
29,9 |
||
|
410690/410691 |
410028/410188 |
К1-50-4 |
2394 |
31,5 |
35,6 |
||
|
410744/410745 |
410455/410454 |
К1-50-5 |
2894 |
36,1 |
41,3 |
||
|
410746/410747 |
410470/410471 |
К1-50-6 |
6.4.3-6.4.4 |
3394 |
51 |
57,1 |
|
|
410748/410749 |
410794/410795 |
К1-50-7 |
3894 |
55,7 |
62,8 |
||
|
410750/410751 |
410796/410797 |
К1-50-8 |
4394 |
60,3 |
68,5 |
||
|
410752/410753 |
410798/410799 |
К1-50-9 |
4894 |
65 |
74,2 |
||
|
410754/410755 |
410800/410801 |
К1-50-10 |
5394 |
69,7 |
79,9 |
||
Тушение газовыми огнетушащими составами применяется там, где использование других типов огнетушащих веществ (ОТВ) невозможно, неэффективно или нецелесообразно, ввиду требований по сохранению функциональности технологического и электронного оборудования защищаемого объекта или неприемлемости нанесения ущерба имуществу, который неизбежен при использовании других типов ОТВ.

