Модуль предназначен для длительного хранения под давлением и выпуска газового огнетушащего вещества (ГОТВ) двуокиси углерода (СО2) при тушении пожаров классов А, В, С по ГОСТ 27331 и электрооборудования (электроустановок под напряжением до 10 000 В). Напряжение электроустановок, при котором можно производить тушение, должно соответствовать требованиям нормативно-технической документации на используемое ГОТВ.
МПА-CDX (X1 – X2 – X3) Х4, где:
- МПА-CDX – наименование модуля, принятое изготовителем;
- Х1 – рабочее давление в модуле, кгс/см2 (150-200);
- Х2 – вместимость баллона модуля, л (100);
- Х3 – диаметр условного прохода ЗПУ, мм (16);
- Х4 – технические условия, в соответствии с которыми изготовлен модуль (ТУ 25.29.12-012-05804631).
Модуль состоит и цельнотянутого баллона, сифонной трубки и запорно-пускового устройства;
- Максимальная заправка ГОТВ в модуль МПА - СDX (150-100-16) – 70 кг.;
- Максимальная заправка ГОТВ в модуль МПА - СDX (200-100-16) – 72 кг.;
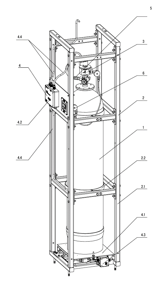
1. Модуль МПА-CDX;
2. Стойка СТ1-1-CDX, состоящая из рамы (2.1) и хомутов (2.2);
3. Комбинированное устройство электромеханического пуска 03-24 DC;
4. Устройство контроля сохранности массы УКСМ-1/1, состоящее из весового устройства (4.1), блока контроля сигналов (4.2), блока индикации массы (4.3) и соединительных кабелей (4.4);
5. Рукав высокого давления;
6. Устройство дистанционного ручного пуска.
Тушение газовыми огнетушащими составами применяется там, где использование других типов огнетушащих веществ (ОТВ) невозможно, неэффективно или нецелесообразно, ввиду требований по сохранению функциональности технологического и электронного оборудования защищаемого объекта или неприемлемости нанесения ущерба имуществу, который неизбежен при использовании других типов ОТВ.

