Модули типа МПА-ULT применяются в составе автоматических установок газового пожаротушения для тушения пожаров класса А, В, С по ГОСТ 27331 и электрооборудования, находящегося под напряжением.
Модули типа МПА-ULT(A) вместимостью баллонов от 40 до 180 (л) могут применяться в системах газового пожаротушения для противопожарной защиты атомных электрических станций (АЭС) и объектов использования атомной энергии (ОИАЭ).
Модули соответствуют:
- классу безопасности 3, классификационному обозначению 3Н по НП-001 и отвечают требованиям Федеральной службы по экологическому, технологическому и атомному надзору (Ростехнадзору), НП-016, НП-022, НП-033;
- І категории сейсмостойкости по НП-031;
- по электромагнитной совместимости (ЭМС) I группе исполнения по устойчивости к помехам с критерием качества функционирования А согласно ГОСТ 32137.
Модули типа МПА-ULT(PB):
- выдерживают воздействие сейсмического удара с амплитудой полуволны импульса ускорений 30 g (294 м/с) и длительностью 30-50 мс по ГОСТ РВ 20.39.304.
Уровень заполнения модуля МПА-ULT определяется параметрами помещения и подтверждается гидравлическим расчетом.
Обозначение модуля имеет следующую структуру:
Модуль газового пожаротушения МПА-ULT (X1 - X2 - X3) X4 X5 где:
- МПА-ULT - наименование модуля, принятое изготовителем;
- X1 - рабочее давление в модуле, кгс/см(21/50/65);
- X2 - вместимость баллона, л (2; 20; 40; 52; 60; 80; 100; 106; 147; 100; 150; 180);
- X3 - диаметр условного прохода ЗПУ, мм (15/25/50);
- X4 - вариант исполнения модуля;
- Г - горизонтальное исполнение модуля;
- А - для АЭС и ОИАЭ, находящихся под наблюдением Ростехнадзора;
- РВ - исполнение модулей для Регистра Военного;
- X5 - обозначение технических условий, в соответствии с которыми изготовлен модуль.

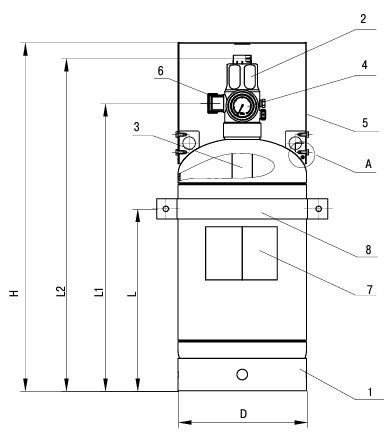
1. Баллон;
2. ЗПУ;
3. Сифонная трубка;
4. Манометр;
5. Кожух защитный*;
6. Заглушка транспортная;
7. Шильд;
8. Кронштейн баллона 254*.
*Кожух, кронштейн и зажим заземляющий в комплект поставки не входят и заказываются отдельно.
Тушение газовыми огнетушащими составами применяется там, где использование других типов огнетушащих веществ (ОТВ) невозможно, неэффективно или нецелесообразно, ввиду требований по сохранению функциональности технологического и электронного оборудования защищаемого объекта или неприемлемости нанесения ущерба имуществу, который неизбежен при использовании других типов ОТВ.

