Артикул:
414135
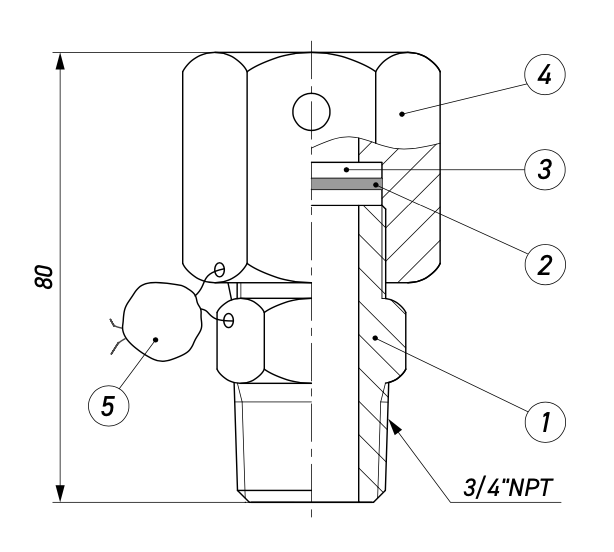
Описание
Клапан предохранительный 60 бар APE6 предназначен для защиты от механического повреждения тех- нологического оборудования установки газового пожаротушения и трубопровода (коллектора) избыточ- ным давлением.
Сброс давления рабочей среды сверх установленного предела производится путем разрыва предохра- нительной мембраны. Устанавливается в муфту К 3/4 ̋.
1– Ниппель
2– Мембрана 60 бар
3– Шайба (2 шт.)
4– Корпус
5– Пломба
Статьи
Статьи по пожарной безопасности
—
10.04.2023
Тушение газовыми огнетушащими составами применяется там, где использование других типов огнетушащих веществ (ОТВ) невозможно, неэффективно или нецелесообразно, ввиду требований по сохранению функциональности технологического и электронного оборудования защищаемого объекта или неприемлемости нанесения ущерба имуществу, который неизбежен при использовании других типов ОТВ.

